পোলারাইজার: এলসিডি স্ক্রিনের "অপটিক্যাল গেটকিপার"

যখন আপনি একটি LCD স্ক্রিনে প্রাণবন্ত চিত্রগুলির প্রশংসা করেন, তখন একটি আপাতদৃষ্টিতে সাধারণ পাতলা ফিল্ম একটি সমালোচনামূলক, তবুও প্রায়শই অদেখা ভূমিকা পালন করে - পোলারাইজার৷ এই অত্যাধুনিক অপটিক্যাল উপাদানটি একটি সুনির্দিষ্ট "দ্বাররক্ষক" হিসাবে কাজ করে, এটি সতর্কতার সাথে আলোর প্রবেশ এবং প্রস্থান নিয়ন্ত্রণ করে, এটি লিকুইড ক্রিস্টাল ডিসপ্লে (LCD) প্রযুক্তির জন্য অপরিহার্য করে তোলে।


দ্বিমুখী আলোর গেট

এলসিডি আলোকসজ্জার জন্য ব্যাকলাইট ইউনিটের উপর নির্ভর করে। পোলারাইজারের মূল কাজটি দ্বিগুণ:

ইনপুট ফিল্টারিং (বটম পোলারাইজার): ব্যাকলাইট থেকে বিশৃঙ্খল, অপোলারাইজড প্রাকৃতিক আলোকে একটি অভিন্ন কম্পনের দিক দিয়ে পোলারাইজড আলোতে রূপান্তরিত করে।

আউটপুট কন্ট্রোল (শীর্ষ পোলারাইজার): নিচের পোলারাইজারের সাথে সাধারণত 90 ডিগ্রী ঋজু। আলো কেবলমাত্র তখনই অতিক্রম করতে পারে যদি তরল স্ফটিক অণুগুলি সফলভাবে মেরুকরণের দিকটি ঘোরাতে পারে যা উপরের পোলারাইজারের "পাস কন্ডিশন" এর সাথে মেলে, আলো/অন্ধকার প্যাটার্ন তৈরি করে যা দৃশ্যমান চিত্র তৈরি করে।

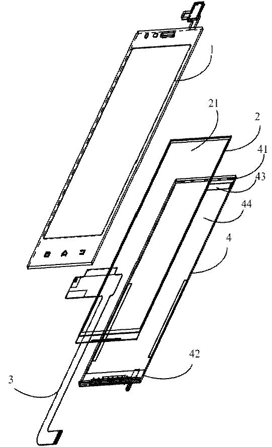
যথার্থ পাঁচ-স্তর "স্যান্ডউইচ" কাঠামো

একটি পোলারাইজার হল পাঁচটি কার্যকরী স্তরের একটি সুনির্দিষ্টভাবে ইঞ্জিনিয়ারড কম্পোজিট:

TAC ফিল্ম (Triacetyl Cellulose - Top & Bottom Layers): একটি "শক্তিশালী ঢাল" এবং "অপটিক্যাল ক্ষতিপূরণকারী" হিসেবে কাজ করে। শারীরিক সুরক্ষা প্রদান করে (স্ক্র্যাচ, আর্দ্রতা প্রতিরোধ) এবং কম অপটিক্যাল প্রতিবন্ধকতা বৈশিষ্ট্যের কারণে অপটিক্যাল বিকৃতির জন্য ক্ষতিপূরণ দেয়, রঙের বিশুদ্ধতা এবং ন্যূনতম চিত্র বিকৃতি নিশ্চিত করে।

PVA ফিল্ম (পলিভিনাইল অ্যালকোহল - কোর লেয়ার): "পোলারাইজড লাইট জেনারেটর।" স্ট্রেচিং এবং ডাইং (আয়োডিন বা ডাইক্রোইক) এর মাধ্যমে, এর আণবিক চেইনগুলি সারিবদ্ধ হয়ে যায়, শক্তিশালী ডাইক্রোইজম প্রদর্শন করে - একটি কম্পনের দিকের আলোর তরঙ্গ শোষণ করে যখন এটিতে লম্বকে প্রেরণ করে, দক্ষতার সাথে মেরুকৃত আলো তৈরি করে। এর কর্মক্ষমতা পোলারাইজারের দক্ষতা (পোলারাইজেশন ডিগ্রি) এবং ট্রান্সমিট্যান্সকে সংজ্ঞায়িত করে।

আউটপুট কন্ট্রোল (শীর্ষ পোলারাইজার): নিচের পোলারাইজারের সাথে সাধারণত 90 ডিগ্রী ঋজু। আলো কেবলমাত্র তখনই অতিক্রম করতে পারে যদি তরল স্ফটিক অণুগুলি সফলভাবে মেরুকরণের দিকটি ঘোরাতে পারে যা উপরের পোলারাইজারের "পাস কন্ডিশন" এর সাথে মেলে, আলো/অন্ধকার প্যাটার্ন তৈরি করে যা দৃশ্যমান চিত্র তৈরি করে।

রিলিজ ফিল্ম: "পরিবহন রক্ষাকারী।" উত্পাদন, শিপিং এবং স্টোরেজের সময় দূষণ এবং দুর্ঘটনাজনিত আনুগত্য থেকে PSA স্তরকে রক্ষা করে। প্যানেল কারখানায় ল্যামিনেশন প্রক্রিয়ার ঠিক আগে এটি খোসা ছাড়ানো হয় এবং ফেলে দেওয়া হয়।

ভবিষ্যতের চাহিদার জন্য ক্রমাগত বিবর্তন

উচ্চতর ছবির গুণমান (4K/8K, HDR), বৃহত্তর দেখার কোণ, পাতলা প্রোফাইল এবং নমনীয়তা পোলারাইজার প্রযুক্তিতে ক্রমাগত উদ্ভাবন করে:

পাতলা প্রোফাইল: পাতলা TAC বা বিকল্প উপকরণ যেমন COP (সাইক্লো ওলেফিন পলিমার) বা পিইটি ফিল্ম গ্রহণ।

বর্ধিত কর্মক্ষমতা: ট্রান্সমিট্যান্স এবং কনট্রাস্ট রেশিও বাড়ানোর জন্য PVA প্রক্রিয়াকরণের অপ্টিমাইজেশন।

বিস্তৃত দেখার কোণ: অন্তর্নিহিত LCD দেখার কোণ সীমাবদ্ধতা প্রশমিত করতে অপটিক্যাল ক্ষতিপূরণ ফিল্মগুলির একীকরণ।

নমনীয়তা: ভাঁজযোগ্য ডিসপ্লে এবং নমনীয় OLED-এর সাথে সামঞ্জস্যপূর্ণ নমনীয় পোলারাইজারগুলির বিকাশ।


CNK সম্পর্কে

2010 সালে শেনঝেনে প্রতিষ্ঠিত, CNK ইলেকট্রনিক্স (সংক্ষেপে CNK) 2019 সালে লংইয়ান, ফুজিয়ানে বিশ্বের শীর্ষস্থানীয় কারখানার প্রসারিত করেছে। এটি একটি বিশেষ এবং উদ্ভাবনী উদ্যোগ যা ডিসপ্লে পণ্যের ডিজাইন, উন্নয়ন, উৎপাদন এবং বিক্রয়ে বিশেষজ্ঞ। CNK গ্রাহকদের বিশ্বব্যাপী চমৎকার মানের সঙ্গে খরচ-কার্যকর ছোট এবং মাঝারি আকারের ডিসপ্লে মডিউল, সমাধান এবং পরিষেবার সম্পূর্ণ পরিসর সরবরাহ করে। প্রযুক্তি এবং উচ্চ মানের দিকনির্দেশিত, CNK টেকসই উন্নয়ন বজায় রাখে, গ্রাহকদের আরও ভাল এবং স্থিতিশীল পরিষেবা দেওয়ার জন্য কাজ করে।


অনুসন্ধান পাঠান

X
আমরা আপনাকে একটি ভাল ব্রাউজিং অভিজ্ঞতা দিতে, সাইটের ট্র্যাফিক বিশ্লেষণ করতে এবং সামগ্রী ব্যক্তিগতকৃত করতে কুকিজ ব্যবহার করি। এই সাইটটি ব্যবহার করে, আপনি আমাদের কুকিজ ব্যবহারে সম্মত হন। গোপনীয়তা নীতি
প্রত্যাখ্যান করুন গ্রহণ করুন